Centos7+CDP7.1.4安装部署
版权声明:本文为博主原创文章,遵循 CC 4.0 BY-SA 版权协议,转载请附上原文出处链接和本声明。
本文链接:https://blog.csdn.net/Happy_Sunshine_Boy/article/details/106658771
| 组件 | 版本 |
|---|---|
| Cloudera Manager | 7.1.1 |
| Cloudera Runtime | 7.1.1.0 |
| OpenJDK | 1.8.0_252 |
| CentOS | 7.4.1708 |
| MySQL | 5.7 |
| IP | Hostname | 内存 | CPU | 磁盘 |
|---|---|---|---|---|
| 10.180.249.2 | manager.cdp | 16G | 16 | 1T |
| 10.180.249.3 | master.cdp | 16G | 16 | 500G |
| 10.180.249.4 | worker.cdp | 16G | 16 | 500G |
1.搭建步骤
1.1 hosts 配置(所有主机)
#设置主机名
hostnamectl set-hostname cdp0
cat >>/etc/hosts << EOF
192.168.2.60 cdp0
192.168.2.61 cdp1
192.168.2.62 cdp2
EOF
1.2 配置 SSH 免密(manager.cdp)
# 一路回车# 一路回车
ssh-keygen -t rsa
ssh-copy-id cdp0
ssh-copy-id cdp1
ssh-copy-id cdp2
1.3 关闭 Selinux(所有主机)
setenforce 0
sed -i ‘s/SELINUX=enforcing/SELINUX=disabled/g’ /etc/selinux/config
1.4 关闭防火墙(所有主机)
systemctl stop firewalld
systemctl disable firewalld
1.5 安装 ntpd 服务(所有主机)
yum install -y ntp ntpdate
#manager.cdp 节点
vim /etc/ntp.conf
#注释 server
restrict 10.180.249.254 mask 255.255.254.0 nomodify notrap
server 127.127.1.0
fudge 127.127.1.0 stratum 8
#注:10.180.249.254 和 255.255.254.0是集群所在网段的网关和子网掩码
#master.cdp 节点
vim /etc/ntp.conf
#注释 server
restrict 10.180.249.254 mask 255.255.254.0 nomodify notrap
server manager.cdp prefer
server 127.127.1.0
fudge 127.127.1.0 stratum 9
#worker.cdp 节点
vim /etc/ntp.conf
#注释 server
server manager.cdp prefer
server master.cdp
#在manager启动ntp之后,其余各节点启动ntp服务之前,master和worker节点执行命令,同步manager时间
#启动 manager.cdp 节点ntpd服务
systemctl start ntpd
systemctl enable ntpd
#在master.cdp、worker.cdp 节点进行时间同步
ntpdate manager.cdp
#启动master.cdp、worker.cdp 节点ntpd服务
systemctl start ntpd
systemctl enable ntpd
#查看ntp状态
ntpq -p
#’*’ 表示当前使用的时钟源,’+’ 表示这些源可作为 NTP 源
1.6 设置swap(所有主机)
#重启生效
cat >>/etc/sysctl.conf<< EOF
vm.swappiness=1
EOF
#当前生效
sysctl vm.swappiness=1
1.7 关闭透明大页(所有主机)
#当前关闭透明大页
echo never > /sys/kernel/mm/transparent_hugepage/enabled
echo never > /sys/kernel/mm/transparent_hugepage/defrag
#永久关闭
echo 'echo never > /sys/kernel/mm/transparent_hugepage/defrag' >> /etc/rc.d/rc.local
echo 'echo never > /sys/kernel/mm/transparent_hugepage/enabled' >> /etc/rc.d/rc.local
#增加执行权限
chmod +x /etc/rc.d/rc.local
1.8 设置 limits(所有主机)
cat >> /etc/security/limits.conf << EOF
hdfs - nofile 32768
mapred - nofile 32768
hbase - nofile 32768
hdfs - noproc 32768
mapred - noproc 32768
hbase - noproc 32768
EOF
1.9 安装MySQL(cdp0)
#下载yum源的rpm包:
wget https://dev.mysql.com/get/mysql57-community-release-el7-11.noarch.rpm
#安装rpm包:
rpm -Uvh mysql57-community-release-el7-11.noarch.rpm
#检查有mysql源:
yum repolist enabled | grep mysql

#安装MySQL5.7:
yum install -y mysql-community-server
#首先启动MySQL:
systemctl start mysqld
systemctl status mysqld
MySQL开始正常运行,不过要想进入MySQL还得先找出此时root用户的密码,通过如下命令可以在日志文件中找出密码:
grep “password” /var/log/mysqld.log
#修改root默认密码:
mysql -uroot -p
set global validate_password_policy=LOW;
set password=password(“bigdata123”);
开发mysql访问权限
#打开mysql库
use mysql;
#检索 user 和 host 字段
select user,host from user;
+---------------+-----------+
| user | host |
+---------------+-----------+
| mysql.session | localhost |
| mysql.sys | localhost |
| root | localhost |
+---------------+-----------+
3 rows in set (0.00 sec)
#如果没有 user=root ,host = % 的用户,则执行下面语句
update user set host='%' where user='root';
#让赋予的权限立即生效
flush privileges;
1.9.1 启动并配置MySQL
#停止Mysql服务:
systemctl stop mysqld
#将旧的InnoDB日志/var/lib/mysql/ib_logfile0和/var/lib/mysql/ib_logfile1移动到备份目录:
mkdir mysql_backup
mv /var/lib/mysql/ib_logfile* /root/mysql_backup/
#然后修改mysql的配置文件/etc/my.cnf:
vi /etc/my.cnf
[mysqld]
datadir=/var/lib/mysql
socket=/var/lib/mysql/mysql.sock
transaction-isolation = READ-COMMITTED
# Disabling symbolic-links is recommended to prevent assorted security risks;
# to do so, uncomment this line:
symbolic-links = 0
key_buffer_size = 32M
max_allowed_packet = 16M
thread_stack = 256K
thread_cache_size = 64
query_cache_limit = 8M
query_cache_size = 64M
query_cache_type = 1
max_connections = 550
#expire_logs_days = 10
#max_binlog_size = 100M
#log_bin should be on a disk with enough free space.
#Replace '/var/lib/mysql/mysql_binary_log' with an appropriate path for your
#system and chown the specified folder to the mysql user.
log_bin=/var/lib/mysql/mysql_binary_log
#In later versions of MySQL, if you enable the binary log and do not set
#a server_id, MySQL will not start. The server_id must be unique within
#the replicating group.
server_id=1
binlog_format = mixed
read_buffer_size = 2M
read_rnd_buffer_size = 16M
sort_buffer_size = 8M
join_buffer_size = 8M
# InnoDB settings
innodb_file_per_table = 1
innodb_flush_log_at_trx_commit = 2
innodb_log_buffer_size = 64M
innodb_buffer_pool_size = 4G
innodb_thread_concurrency = 8
innodb_flush_method = O_DIRECT
innodb_log_file_size = 512M
[mysqld_safe]
log-error=/var/log/mysqld.log
pid-file=/var/run/mysqld/mysqld.pid
sql_mode=STRICT_ALL_TABLES
#设置mysql自启动:
systemctl enable mysqld
systemctl start mysqld
配置数据库:
sudo /usr/bin/mysql_secure_installation
Securing the MySQL server deployment.
Enter password for user root:
The 'validate_password' plugin is installed on the server.
The subsequent steps will run with the existing configuration
of the plugin.
Using existing password for root.
Estimated strength of the password: 50
Change the password for root ? ((Press y|Y for Yes, any other key for No) : N
... skipping.
By default, a MySQL installation has an anonymous user,
allowing anyone to log into MySQL without having to have
a user account created for them. This is intended only for
testing, and to make the installation go a bit smoother.
You should remove them before moving into a production
environment.
Remove anonymous users? (Press y|Y for Yes, any other key for No) : y
Success.
Normally, root should only be allowed to connect from
'localhost'. This ensures that someone cannot guess at
the root password from the network.
Disallow root login remotely? (Press y|Y for Yes, any other key for No) : n
... skipping.
By default, MySQL comes with a database named 'test' that
anyone can access. This is also intended only for testing,
and should be removed before moving into a production
environment.
Remove test database and access to it? (Press y|Y for Yes, any other key for No) : y
- Dropping test database...
Success.
- Removing privileges on test database...
Success.
Reloading the privilege tables will ensure that all changes
made so far will take effect immediately.
Reload privilege tables now? (Press y|Y for Yes, any other key for No) : y
Success.
All done!
1.9.2 创建数据库
| Service | Database | User |
|---|---|---|
| Cloudera Manager Server | scm | scm |
| Reports Manager | rman | rman |
| Hue | Hue | Hue |
| Hive Metastore Server | hive | hive |
| Oozie | oozie | oozie |
| Data Analytics Studio (DAS) Supported with PostgreSQL only. | das | das |
| Schema Registry | schemaregistry | schemaregistry |
| Streams Messaging Manager | smm | smm |
mysql -uroot -p
set global validate_password_policy=LOW;
CREATE DATABASE scm DEFAULT CHARACTER SET utf8 DEFAULT COLLATE utf8_general_ci;
GRANT ALL ON scm.* TO 'scm'@'%' IDENTIFIED BY 'bigdata123';
CREATE DATABASE amon DEFAULT CHARACTER SET utf8 DEFAULT COLLATE utf8_general_ci;
GRANT ALL ON amon.* TO 'amon'@'%' IDENTIFIED BY 'bigdata123';
CREATE DATABASE rman DEFAULT CHARACTER SET utf8 DEFAULT COLLATE utf8_general_ci;
GRANT ALL ON rman.* TO 'rman'@'%' IDENTIFIED BY 'bigdata123';
CREATE DATABASE hue DEFAULT CHARACTER SET utf8 DEFAULT COLLATE utf8_general_ci;
GRANT ALL ON hue.* TO 'hue'@'%' IDENTIFIED BY 'bigdata123';
CREATE DATABASE hive DEFAULT CHARACTER SET utf8 DEFAULT COLLATE utf8_general_ci;
GRANT ALL ON hive.* TO 'hive'@'%' IDENTIFIED BY 'bigdata123';
CREATE DATABASE ranger DEFAULT CHARACTER SET utf8 DEFAULT COLLATE utf8_general_ci;
GRANT ALL ON ranger.* TO 'rangeradmin'@'%' IDENTIFIED BY 'bigdata123';
CREATE DATABASE nav DEFAULT CHARACTER SET utf8 DEFAULT COLLATE utf8_general_ci;
GRANT ALL ON nav.* TO 'nav'@'%' IDENTIFIED BY 'bigdata123';
CREATE DATABASE navms DEFAULT CHARACTER SET utf8 DEFAULT COLLATE utf8_general_ci;
GRANT ALL ON navms.* TO 'navms'@'%' IDENTIFIED BY 'bigdata123';
CREATE DATABASE oozie DEFAULT CHARACTER SET utf8 DEFAULT COLLATE utf8_general_ci;
GRANT ALL ON oozie.* TO 'oozie'@'%' IDENTIFIED BY 'bigdata123';
Refresh;
1.10 安装jdbc驱动(所有节点)
wget https://dev.mysql.com/get/Downloads/Connector-J/mysql-connector-java-5.1.46.tar.gz
mkdir -p /usr/share/java
tar zxvf mysql-connector-java-5.1.46.tar.gz
scp mysql-connector-java-5.1.46/mysql-connector-java-5.1.46-bin.jar /usr/share/java/mysql-connector-java.jar
scp mysql-connector-java-5.1.46/mysql-connector-java-5.1.46-bin.jar master.cdp:/usr/share/java/mysql-connector-java.jar
scp mysql-connector-java-5.1.46/mysql-connector-java-5.1.46-bin.jar worker.cdp:/usr/share/java/mysql-connector-java.jar
1.11 安装JDK(所有节点)
yum -y install java-1.8.0-openjdk.x86_64 java-1.8.0-openjdk-headless.x86_64 java-1.8.0-openjdk-devel.x86_64
1.12 配置本地源(cdp0)
下载CM7.1.1的安装包,地址为(manager.cdp):
https://archive.cloudera.com/cm7/7.1.1/redhat7/yum/RPMS/x86_64/cloudera-manager-agent-7.1.1-3274282.el7.x86_64.rpm
https://archive.cloudera.com/cm7/7.1.1/redhat7/yum/RPMS/x86_64/cloudera-manager-daemons-7.1.1-3274282.el7.x86_64.rpm
https://archive.cloudera.com/cm7/7.1.1/redhat7/yum/RPMS/x86_64/cloudera-manager-server-7.1.1-3274282.el7.x86_64.rpm
https://archive.cloudera.com/cm7/7.1.1/redhat7/yum/RPMS/x86_64/cloudera-manager-server-db-2-7.1.1-3274282.el7.x86_64.rpm
https://archive.cloudera.com/cm7/7.1.1/redhat7/yum/RPMS/x86_64/enterprise-debuginfo-7.1.1-3274282.el7.x86_64.rpm
https://archive.cloudera.com/cm7/7.1.1/redhat7/yum/RPMS/x86_64/openjdk8-8.0+232_9-cloudera.x86_64.rpm
https://archive.cloudera.com/cm7/7.1.1/redhat7/yum/RPM-GPG-KEY-cloudera
https://archive.cloudera.com/cm7/7.1.1/allkeys.asc
批量下载命令为(cdp0):
```
wget -nd -r -l1 --no-parent https://archive.cloudera.com/cm7/7.1.1/redhat7/yum/RPMS/x86_64/
wget https://archive.cloudera.com/cm7/7.1.1/redhat7/yum/RPM-GPG-KEY-cloudera
wget https://archive.cloudera.com/cm7/7.1.1/allkeys.asc
下载 Cloudera Runtime7.1.1的安装包,地址为(manager.cdp):
```
https://archive.cloudera.com/cdh7/7.1.1.0/parcels/CDH-7.1.1-1.cdh7.1.1.p0.3266817-el7.parcel
https://archive.cloudera.com/cdh7/7.1.1.0/parcels/CDH-7.1.1-1.cdh7.1.1.p0.3266817-el7.parcel.sha256
https://archive.cloudera.com/cdh7/7.1.1.0/parcels/manifest.json
批量下载命令为(manager.cdp):
wget -nd -r -l1 --no-parent https://archive.cloudera.com/cdh7/7.1.1.0/parcels/
安装工具包(manager.cdp):
yum install httpd createrepo -y
systemctl start httpd
systemctl enable httpd
systemctl status httpdmkdir -p /var/www/html/cm7/7.1.1/
cd /var/www/html/cm7/7.1.1/
上传rpm包
createrepo .
mkdir -p /var/www/html/cdh7/7.1.1.0
cd /var/www/html/cdh7/7.1.1.0
上传rpm包
1.13 制作Cloudera Manager的repo源(所有节点)
cd /etc/yum.repos.d
vim cm7.repo
[cm7]
name=cm7
baseurl=http://192.168.1.198/cm7/7.1.4/redhat7/yum/
gpgcheck=0
enabled=1
2.安装 Cloudera Manager Server
2.1 通过yum安装Cloudera Manager Server(cdp0)
yum -y install cloudera-manager-daemons cloudera-manager-agent cloudera-manager-server
2.2 初始化数据库
sudo /opt/cloudera/cm/schema/scm_prepare_database.sh mysql scm scm bigdata123

2.3 启动Cloudera Manager Server
systemctl start cloudera-scm-server.service
systemctl status cloudera-scm-server.service
2.4 检查服务
sudo tail -f /var/log/cloudera-scm-server/cloudera-scm-server.log
当您看到此日志条目时,Cloudera Manager管理控制台已准备就绪:
INFO WebServerImpl:com.cloudera.server.cmf.WebServerImpl: Started Jetty server.

2.5 检查端口是否监听
netstat -nltp | grep 7180

3.访问CM 创建集群
通过 http://cdp0:7180/ 访问CM

使用admin/admin用户登录系统

3.1 CDH集群安装向导
- 使用admin/admin登录到CM:

这时有两个选项,一个是上传企业订阅的license,一个是使用60天试用,试用到期后无法访问Cloudera Manager的管理控制台。
我们这里先选择60天试用。弹出试用协议,如下图所示,选择继续,进行下一步:

选择继续,进行下一步:

- 点击“继续”,输入集群的名称,也可以使用默认的”Cluster 1”:

- 输入主机ip或者名称,点击搜索找到主机后点击继续:

- 点击继续:

- “CDH and other software”中选择“Parcel Repositories & Network Settings”,点击“ 更多选项”,点击“-”删除其它所有地址,输入http://192.168.1.198/cdh7/7.1.4/parcels/,点击“保存更改”:

点击Save & Verify Configuration,验证通过,点击关闭:


- 点击“继续”,进入下一步安装jdk. 选择Install a Cloudera-provided version of OpenJDK,点击继续:

- 点击“继续”,进入下一步配置ssh账号密码,确保所有机器的root密码都一致,然后输入root的密码即可:

- 点击“继续”,进入下一步,安装Cloudera Manager相关到各个节点:

等待agent安装完毕后,自动跳转到下一步开始安装parcel - 点击“继续”,进入下一步安装cdh到各个节点:

- 自动进入下一步主机检查和网络检查,确保所有检查项均通过:

需要手工点击进行网络性能和主机检查:

如果有错误或者黄色警告,查看“显示检查器结果”,并逐项解决,然后“重新运行”检查,直到所有的检查都通过,否则没办法点击继续下一步:

点击完成进入服务安装向导。
3.2 集群设置安装向导
- 选择需要安装的服务:

自定义服务中可以看到所有组件,可以根据自己的需求来选择:

- 点击“继续”,进入集群角色分配,一台机器作为管理节点,另外三台机器作为DataNode:

注意:Cloudera Management Service中的Activity Monitor现在已经基本上不用,可以不安装该服务。Telemetry Publisher是遥感服务,用于Workload XM通信,如果没有计划使用Workload XM,则不需要安装该服务。ZooKeeper至少安装3节点,需要为奇数节点数。 - 点击“继续”,进入下一步,测试数据库连接:

测试都成功后才能点击继续:

- 点击“继续”,进入参数设置,此处使用默认参数,根据实际情况进行目录修改:

- 点击“继续”,进入各个服务启动:

- 安装成功,点击继续:

- 安装成功后进入home管理界面,系统会自动恢复成没有错误的状态:

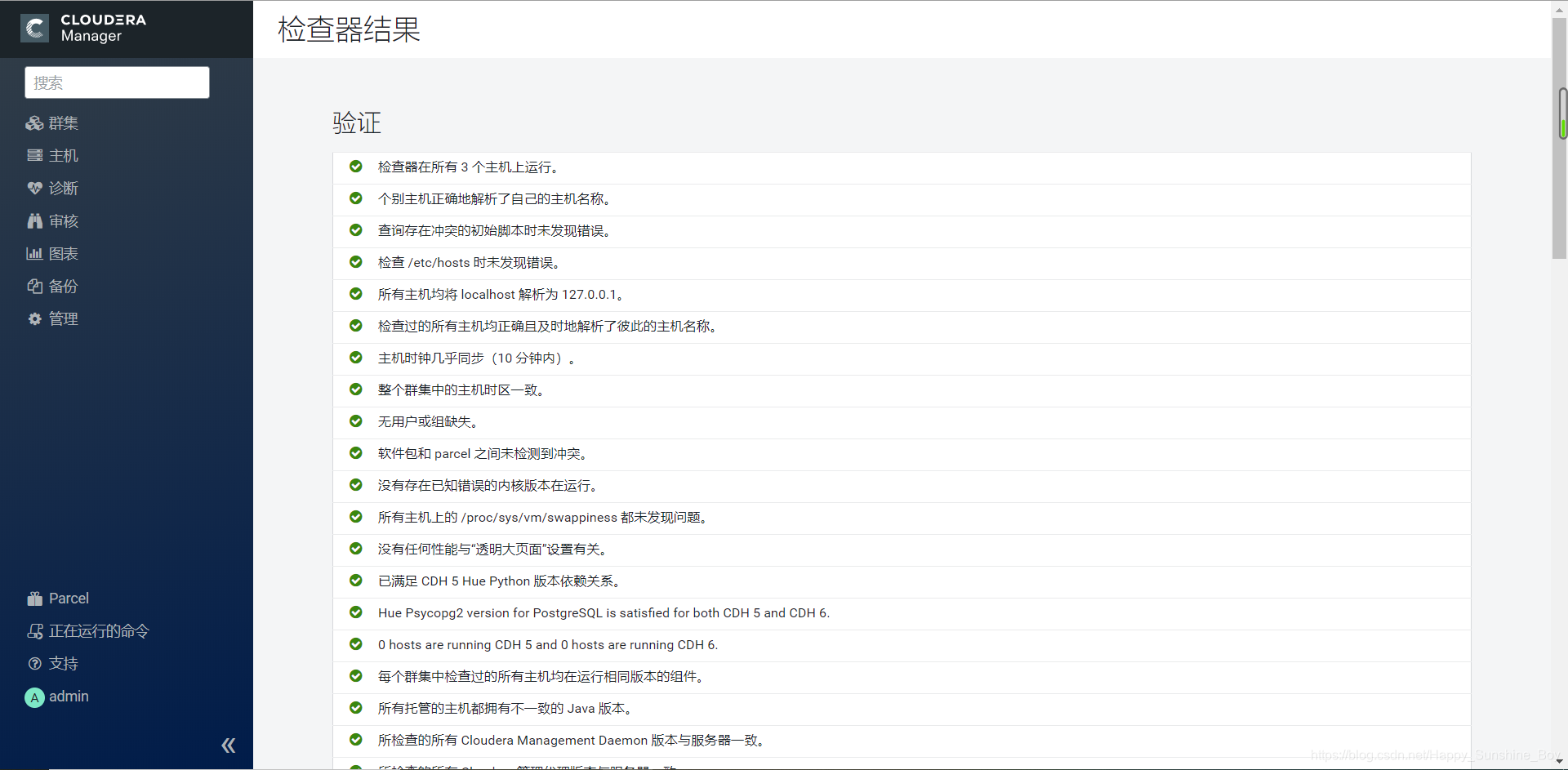
4.组件版本检查
通过Hosts->All Hosts进入All Hosts页面,然后执行Inspect All Hosts:

执行完成后点击Show Inspector Results查看结果:

检查结果:

版本汇总:

参考:
https://docs.cloudera.com/cloudera-manager/7.1.1/index.html
https://cloud.tencent.com/developer/article/1638154



